双筒提升机液压调绳离合器改进
朱有良1,牛国强1,苏文州1,寇保福2
1鹤壁万丰矿山机械制造有限公司 河南鹤壁 456761
2太原科技大学机械工程学院 山西太原 030024
摘要:液压调绳离合器的安全可靠运行是双筒提升机工作的重要保障。由于液压调绳离合器中拨动环与移动毂之间的转动配合及润滑方式不合理,时常引起油液泄漏并甩至制动盘上,影响制动效果;环境恶劣或润滑不充分时,局部易干枯发生胶合事故。针对以上问题笔者将拨动环与移动毂之间的滑动面摩擦转动配合方式为改进双滚珠滚动摩擦,减少了接触摩擦面积,且增加了拨动环与移动毂之间的润滑空间,大大降低了摩擦磨损程度;同时设置了专用的润滑脂储存及输送通道,进一步改善了其工作条件。理论分析及现场应用均表明:该液压调绳离合器的改进从根本上避免了由于调绳离合器引起的提升安全事故,大幅减少调绳离合器的维护成本和时间。
关键词:调绳离合器;拨动环;移动毂;润滑模式;转动接触摩擦
中图分类号:TD444 文献标志码:A 文章编号:
Improvement of hydraulic rope adjusting clutch for double-drum hoist
ZHU Youliang1,NIU Guoqiang1,SU Wenzhou1,KOU Baofu2
1Hebi Wanfeng Mining Machinery Manufacturing Co., Ltd., Hebi 456761, Henan, China
2College of Mechanical Engineering, Taiyuan University of Science and Technology, Taiyuan 030024, Shanxi, China
Abstract: The safe and reliable operation of the hydraulic rope adjusting clutch is an important guarantee for the efficient operation of the double-drum hoist. Due to the unreasonable rotation coordination and lubrication mode between the toggle ring and the moving hub in the hydraulic rope adjusting clutch, the oil leakage is often caused and thrown onto the brake disc, affecting the braking effect; when the environment is bad or the lubrication is not sufficient, the local part is easy to dry and cause the scuffing accident. In view of the above problems, the author puts the friction and rotation matching mode of the sliding surface between the toggle ring and the moving hub as improving the rolling friction of double balls, reducing the contact friction area, increasing the lubrication space between the toggle ring and the moving hub, reducing greatly the friction and wear degree; at the same time, a special grease storage and transmission channel is set up, further improving its working conditions. Theoretical analysis and field application show that the improvement of the hydraulic rope adjusting clutch fundamentally avoids the lifting safety accident caused by the rope adjusting clutch, and greatly reduces the maintenance cost and time of the rope adjusting clutch.
Key Words: rope adjusting clutch; toggle ring; moving hub; lubrication mode; rotating contact friction
基金项目:山西省重点研发计划指南项目国际合作专项(201803D421041);山西省应用基础研究项目(201701D121071)
作者简介:朱有良,男,1966年6月出生、本科,工程师,主要从事矿山提升机机械设计和研发工作。
双筒提升机主轴装置工作时经常需要调绳,尤其是用于多水平提升作业时,调绳次数较为频繁[1]。液压调绳装置是该部件中的重要机构,其结构合理性及运行安全可靠性直接关系到整机提升作业任务的完成和工作效率的高低[2]。
常用的双筒调绳离合机构包括:支轮连接式、蜗轮蜗杆式、轴向齿轮式和径向齿轮式等[3]。其中,支轮连接式调绳离合机构操作繁琐,作业人员劳动强度大;蜗轮蜗杆式调绳离合机构调整耗工费时,且由于结构不对称易造成主轴装置旋转时产生不平衡力矩;轴向齿轮式调绳离合机构的调绳液压缸除完成离合动作外还负责传递力矩,使用一段时间后其缸体挤压变形,从而导致漏油严重,泄露的油液极易流到制动盘上,影响制动效果[4];径向齿轮式调绳离合机构对齿方便,调绳更加快速、可靠、且易于实现自动化控制;因此,径向齿轮式调绳离合机构是目前双筒提升机上较为先进的调绳离合器。
径向齿轮式调绳离合器有几处关键的润滑点:移动毂与轮毂之间的滑动配合面、齿块与滑槽的滑动配合面、拨动环与移动毂之间的转动配合面。目前,径向齿轮式调绳离合器的拨动环与移动毂之间的转动配合面通常采用滑动摩擦副,由于一直处于频繁转动工作状态,必须给予充分油润滑以降低其磨损并防止出现胶合卡阻事故;现场应用油润滑过程中,多余溢出的润滑油时常会甩出,甚至附着于制动盘导致制动效果下降。
笔者针对以上问题,通过现场调研,提出了一种新型的径向调绳离合机构,从根本上解决了调绳离合机构中拨动环与移动毂之间磨损胶合或稀有润滑甩出等难题。
1径向调绳离合器结构及工作原理
径向调绳离合器是双筒提升机调节钢丝绳长度的重要机构,安装布置于游动卷筒的左侧(如图1所示)。右侧的固定卷筒与主轴之间通过支轮过盈连接, 提升时与主轴一起转动;而游动卷筒与主轴之间为间隙配合,游动卷筒与主轴一起转动的动力源自于调绳离合器上齿块与主轴刚性连接内齿圈之间的啮合,调绳离合器的轮毂与主轴采用过盈连接。提升机运行过程中, 当提升容器无法到达指定装卸位置或提升钢丝绳产生弹塑性伸长时,会严重影响物料或人员的准确到位, 这时需通过调绳离合器将游动卷筒与主轴分离, 从而调节钢丝绳的长度、更换提升位置或更换钢丝绳。

1.调绳离合器 2.游动卷筒 3.固定卷筒 4.支轮 5.主轴
图1 双筒矿井提升机的主轴装置
径向齿块式调绳离合器,使调绳过程更加 快速、可靠。该离合器的调绳精度达50 mm。该装置由齿块,内齿圈等工作机构,油缸,移动毂等驱动机构,操作联锁等控制机构三部分组成。如图2所示。此外,内齿圈与游动卷筒的腹板通过高强螺栓刚性连接。

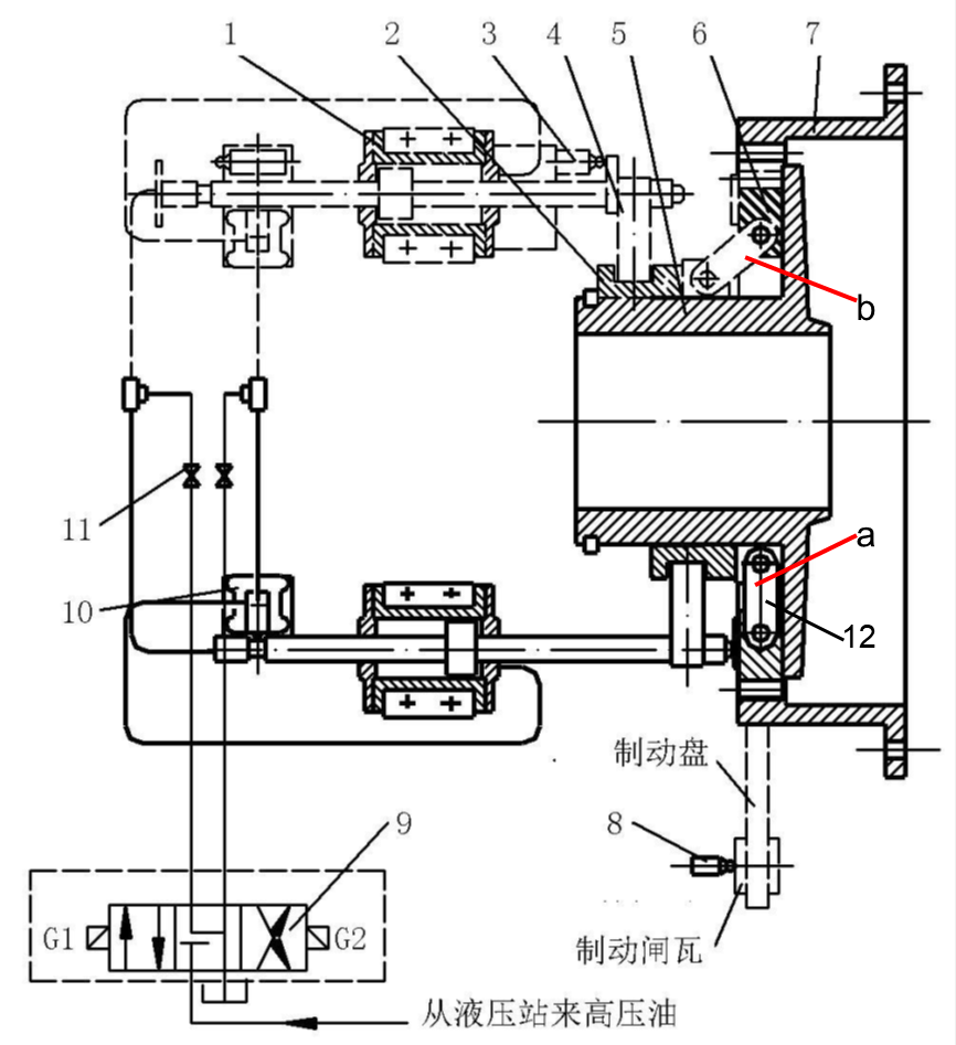
1.驱动油缸 2.移动毂 3.开关4.拨动环 5.固定轮毂 6.齿块
7.内齿圈 8.开关 9.电磁阀 10.联锁阀 11.截止阀 12.连杆
图2 调绳离合器
工作原理:(1)日常提升作业时,固定在左端轴承座上的驱动油缸推动移动轮毂沿主轴在固定轮毂滑动,从而带动连杆,并使齿块沿固定轮毂的垂直方向滑槽滑动,使齿块与内齿圈啮合,如图中处于a的工作状态。此时,动力从主轴传递至外齿圈,再到齿块上,通过两侧滑槽传递到活动滚筒上。主轴带动滚筒一起转动,完成提升或下放任务。(2)调节绳长时,制动器先锁紧卷筒制动盘,驱动油缸拉动移动轮毂沿主轴在固定轮毂滑动,从而带动连杆,使齿块与内齿圈分离,如图中处于b的工作状态。即可进行调绳操作。
2 存在问题及分析
2.1 润滑方式带来的问题分析
提升机正常工作(非调绳状态)下,拨动环与移动毂之间始终处于完全滑动摩擦副的转动,两者之间的充分润滑非常重要。因此,通常在此处设置有油杯稀有润滑,为保证充分润滑,需要时常为其补油或充油,但由于无收油及储油结构,所以加注润滑油时易产生泄漏,泄露出的油液泄漏甩至制动盘上,影响制动效果;为提升机停车制动带来了极大的安全隐患。
2.2 转动配合方式带来的问题分析
提升机运行时,拨动环与移动毂之间始终处于完全滑动摩擦副的转动,一旦出现润滑不及时,就会导致两者之间的严重磨损;环境恶劣时,拨动环与移动毂之间局部易出现缺油干枯,会发生胶合现象,进而会造成拨动环与移动毂之间转动不顺畅甚至出现不同程度的卡阻情况,极端情况下将会导致调绳离合机构中的齿块和内齿圈无法可靠啮合或脱离,从而引起生产事故。
3 液压调绳离合器改进方案
针对液压调绳装置机构所存在的问题,笔者提出了一种新型的调绳离合机构,将液压调绳装置的拨动环与移动毂之间的转动配合改进为滚珠轴承点接触滚动配合结构,以减少两者之间的摩擦力;采用润滑脂润滑并辅以储油通道,从根本上解决因漏油引起的制动效果差、以及避免两者之间的转动副胶合等安全事故发生。
3.1新型调绳离合器组成
笔者所设计的新型双筒提升机液压调绳器如图3所示。

a)

b)
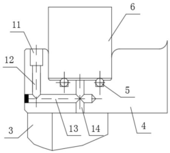
1.轴承座 2.主轴 3.固定轮毂 4.移动毂 5.滚珠 6.拨动环
7.连杆 8.齿块 9.内齿圈 10.游动卷筒 11.压注油杯位
12.加注通道13.移动通道 14.润滑通道 15.润滑管 16.套筒
图3 新型双筒提升机液压调绳器
图3a为整体结构示意图,图3b为拨动环与移动毂之间的转动配合局部放大图。新型调绳离合器与原有调绳离合器不同之处在于:移动毂、拨动环以及固定轮毂三者之间的配合及润滑方式。
固定轮毂与移动毂之间的滑动动作较少,仅在需要调绳的情况下进行此滑动动作,润滑方式采用具有储油通道的润滑脂润滑,其润滑脂储存及供脂通道如图3b所示。
移动毂与拨动环之间的配合方式由原来的完全滑动摩擦改为类似于双列滚珠轴承点接触滚动配合机构。拨动环嵌入到移动毂的环形槽内,且拨动环与移动毂之间增设有滚珠,在移动毂上设有滚珠槽,滚珠可在滚珠槽内自由转动;拨动环、滚珠、及移动毂之间采用润滑脂润滑,且设有专用储存润滑脂通道(见图3b)。调绳驱动油缸推拉拨动环后,拨动环通过移动毂上环形槽的两个端面将推拉力传递给移动毂。
润滑脂通道包括压注油杯位、加注通道、移动通道和润滑通道,压注油杯位设在滑套的外端侧,压注油杯位与竖向的加注通道连通,加注通道与横向的移动通道连通,移动通道的一端设有焊接封堵,移动通道与竖向的润滑通道连通,润滑通道的一端通至移动毂与拨动环之间,润滑通道的另一端通至移动毂与固定轮毂之间。
3.2 新型调绳离合器工作原理
新型调绳离合器的工作原理与现有调绳装置的工作原理类似,日常提升作业时,调绳液压油缸推动拨动环,拨动环通过移动毂上环形槽的右端面将推力传递给移动毂,从而带动与移动毂铰接的连杆,连杆再带动齿块在固定轮毂的导向槽内上移,进而完成齿块与内齿圈的啮合。提升机正常工作状态下,移动毂与拨动环之间就像装设了一个采用润滑脂润滑的双列滚珠轴承,两者之间的转动更加灵活不卡阻,大大降低其摩擦损伤,从根本上改善了其安全稳定性。
调绳作业时,调绳液压油缸拉动拨动环,拨动环通过移动毂上环形槽的左端面将拉力传递给移动毂,从而带动与移动毂铰接的连杆,连杆再带动齿块在固定轮毂的导向槽内下移,进而完成齿块与内齿圈的脱离,方便钢丝绳的调节。
移动毂上钻设通道,包括压住润滑脂的油杯位,然后通过油杯位压住润滑脂至加注通道,移动通道将加注通道来的润滑脂移动至润滑通道,然后再输送至润滑通道的两端,即移动毂与拨动环之间和移动毂与固定轮毂之间,加注通道、移动通道和润滑通道均为直上直下的机构,以便于在移动毂上钻孔。
3.3 关键参数分析
新型调绳离合器中的移动毂、拨动环以及固定轮毂三者之间的摩擦因数是调绳离合器在提升机正常工作状态下很重要的参数。移动毂、拨动环以及固定轮毂三者摩擦因数决定了它们之间的摩擦损伤程度,对调绳离合器的故障率及安全性产生极其重要影响。
原调绳离合器的拨动环与移动毂之间为滑动摩擦,滑动摩擦因数与接触物体的材料、表面光滑程度、干湿程度、表面温度、相对运动速度等都有关系[5]。因此,原调绳离合器对润滑要求极高,对温升也极其敏感,一旦润滑不足或局部温升大,就极易产生严重磨损破坏甚至胶合事故。
笔者所研发的新型调绳离合器中的拨动环与移动毂之间为滚动摩擦。相关文献[6]建立了基于摩擦界面热力耦合过程的滑动摩擦系数计算模型,计算结果表明:滑动摩擦系数随相对滑动速度增大而增大;当摩擦界面实际接触面积与载荷呈线性关系时,滑动摩擦系数与接触面积无关;当实际接触面积接近名义接触面积时,滑动摩擦系数随载荷的增加而减小。滚动摩擦是物体滚动时其接触面一直处于变化着,物体所受的摩擦力实质上是静摩擦力。接触面软,形状变化愈大,则滚动摩擦力就愈大。物体之间的滚动摩擦力远小于滑动摩擦力。由此可见,新型调绳离合器中的拨动环与移动毂之间的接触工况得到了大幅改善,大大降低了两者间的摩擦磨损。
原调绳器中拨动环与移动毂之间滑动摩擦系数:(钢-铸铁)充分润滑状态下为0.05~0.15;原调绳器中拨动环与移动毂之间滚动摩擦系数:(淬火钢-淬火钢)有润滑状态下为0.001;改进前后的滑动摩擦力与滚动摩擦力之比为:0.05/0.001=50。同等作业工况下,原调绳离合器中拨动环与移动毂之间接触磨损是现有的50倍。
3.4 新型调绳离合器优点及现场应用情况
新型调绳离合器优点:将拨动环与移动毂之间的转动配合方式改进为双列滚珠轴承点接触滚动配合机构,即将原来的滑动面摩擦为双滚动摩擦,减少了接触面积,同时增加了拨动环与移动毂之间的润滑空间,大大降低摩擦磨损程度;设置了专用的润滑脂储存及供润滑脂通道,进一步改善拨动环与移动毂之间的配合条件。从根本上上避免了由于调绳离合器引起的提升安全事故,大幅减少调绳离合器的维护成本和时间,延长了其使用寿命。
新型调绳离合器已在山东省宁阳县某矿的2JK3.0×1.5P双筒单绳缠绕式提升机得到应用,使用后没有出现异常响声及故障发生,使用效果良好,没有安全事故隐患。
4结论
笔者针对目前双筒单绳缠绕式提升机液压调绳离合器存在漏油、磨损严重等问题,对其进行了改进设计,重点对调绳离合器中拨动环与移动毂之间的转动配合方式和润滑方式进行了全新设计,理论分析和现场应用均验证了其合理性。
新型调绳离合器的改进有效降低了其故障率,节约了维护成本,提高了提升系统运行的安全可靠性。具有良好的推广应用价值。
参 考 文 献
[1] 于励民. 矿山固定设备选型使用手册[M]. 煤炭工业出版社,2007:343-598.
[2] 郭学功,吴 君. 矿井缠绕式双筒提升机调绳系统存在的问题及应对措施[J]. 煤矿机械,2014,35(1):176-177.
[3] 张益民,牛振华. 一种新型提升机用多齿块径向调绳离合器的设计[J]. 矿山机械,2010,38(05):53-55.
[4] 梁应昌,赵少普,宋东坡. 提升机调绳装置的改进设计及应用[J]. 河北煤炭,2002,(04):42-43.
[5] 胡冰琳. 测动摩擦因数的方法[J]. 课程教育研究,2015,(19):154-155.
[6]龚中良,黄平. 基于热力耦合的滑动摩擦系数模型与计算分析[J]. 华南理工大学学报(自然科学版),2008,(04):10-13.
审稿人:太原科技大学晋民杰院长